JazzolineRozerრა აზრის აქვს მტკიცებას..

)))) ანაც ვის რა უნდა დავუმტკიცო აქ?

) უბრალოდ დავდებ ტექნიკურ მოთხოვნებს რუსული ბილიარდის..
* * *
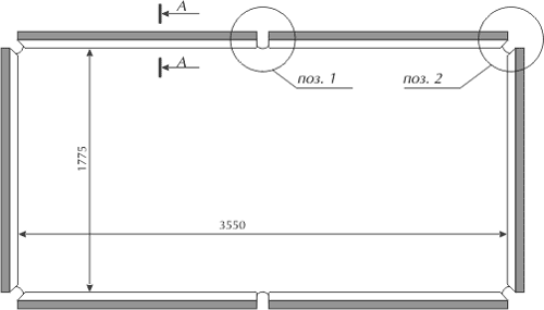
Размер игрового поля, мм 3550 х 1775 (±50)
Толщина плиты (12 футов) не менее, мм 44
Высота стола (верхний край плиты над уровнем пола), мм 800-820
Высота рабочей кромки резины над плитой, мм Рис. 1.3. 42
Угол наклона верхней плоскости резины к поверхности поля, град 6-8
Радиус закругления резины (R1) в угловой лузе, мм Рис. 1.2. 5
Радиус закругления резины (R2) в средней лузе, мм Рис. 1.1. 11 ± 1
Длина коридора в угловой лузе, мм Рис. 1.2. 5-6
Длина коридора в средней лузе, мм Рис. 1.1. 0
Ширина створа угловой лузы, мм Рис. 1.2. 72-73
Ширина створа средней лузы, мм Рис. 1.1. 82-83
Диаметр шара, мм Рис. 1.3. 68-68,5
Рекомендуемая марка шаров "Aramith Premier"
Рекомендуемое сукно для игрового поля "Simonis" 950 RUS Pro; 760
Требования к резине:
# эластичность по отскоку по ГОСТ 27110-86 (СТ СЭВ 108-85)
55% ± 2
# твердость по ИСО по ГОСТ 20403-75 (СТ СЭВ 1970-79)
42 ± 2
Требования к освещению: Рис. 2
# освещенность игрового поля не менее, лк
300
# охват световым потоком:
зона, не уже кромки угловых луз
Рекомендуемая высота кромки плафона светильника над игровым полем, мм 800-1000
Рекомендуемая игровая зона А (расстояние от бортов) не менее, мм Рис. 3 1800
Условия проведения турниров (требования к помещению и окружающей среде):
# температура t, °C
18-22 °С
# влажность, %
60 ± 5% (при отсутствии конденсации)
# резкие перепады температуры и влажности недопустимы
This post has been edited by rastreli on 28 Jan 2006, 18:06
მიმაგრებული სურათი